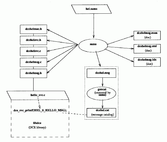
The following figure shows the relationship of the various files, both source and sams output, that go to make up the hello_svc application.
The two parallelogram-shaped objects represent the files that must be created by the developer (you).
Rectangular objects with solid lines represent files that are generated by sams; the two ovals represent programs: one is sams, the other gencat (which is implicitly run by sams when message catalogs are generated).
The large rectangular object in dashed lines represents libdce, which contains the serviceability library.
The diagram makes no attempt to show how hello_svc.c itself is compiled and linked, nor how it runs. It is just a static map of the general place of serviceability in DCE development.
Serviceability and DCE Applications

The sams output filenames are constructed as follows:
tech_name + comp_name + part_name + extension
where:
tech_name
Is the technology name (optionally specified at the top of the hel.sams file); by default it is dce.
comp_name
Is the component name (specified at the top of the hel.sams file); in this case, hel.
part_name
Is a substring identifying the particular file; for example, svc or msg, and so on. This piece of the name is omitted from the message catalog
filenames (in our example, dcehel.msg and dcehel.cat).
extension
Is the file extension (preceded by a . (dot) character).
Because we executed the simplest form of the sams command (that is, without specifying any output flags), the full repertory of sams output files was created, even though the following files were not needed for our application:
· dcehel.msg and dcehel.cat
The file dcehel.msg is input to gencat when it is invoked by sams to create dcehel.cat, the message catalog. (Although our example application used in-memory tables, the serviceability routines always attempt to use the message catalog first.)
· dcehelmsg.man and dcehelmsg.sgm
These are automatically generated documentation files (their nature and purpose were previously described) that have nothing to do with the operation of the interface itself.
The many additional features of serviceability will be described in Integrating Serviceability into a Server and Application Use of Serviceability . A definitive description of sams and the contents of sams files can be found in the OSF DCE Command Referencesams(1dce) reference page.